+38 (0562) 35-66-24
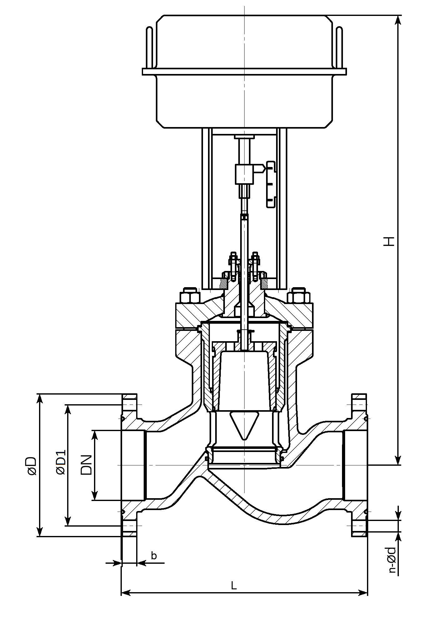
Клапаны регулирующие с МИМ 25с37нж (НЗ), 25лс37нж (НЗ), 25нж37бк (НЗ), 25с39нж (НО), 25лс39нж(НО), 25нж39бк(НО) МЗ 65086
23
Клапаны регулирующие
https://www.promarmatura.info/en
Клапан регулирующий с МИМ МЗ 65086 / 25с37нж (НЗ), 25лс37нж (НЗ), 25нж37бк (НЗ), 25с39нж (НО), 25лс39нж(НО), 25нж39бк(НО) DN 80, 150 PN 160
АО "Армапром"
ТУ У 29.1-00218325-015-2002
Аналог
25с37нж (НЗ), 25лс37нж (НЗ), 25нж37бк (НЗ), 25с39нж (НО), 25лс39нж(НО), 25нж39бк(НО)
Материал корпуса
25Л, 10Г2СЛ, 12Х18Н9ТЛ, 20ГМЛ, 12Х18Н12МЗТЛ
Температурный диапазон
от -60 °C до 200 °C
Массогабаритные характеристики
DN
L, мм
D, мм
h, мм
H, мм
m, кг
DN, мм
80
L, мм
410
D, мм
230
h, мм
-
H, мм
1627
m, г
240,7
DN, мм
150
L, мм
550
D, мм
350
h, мм
-
H, мм
1680
m, г
403,2
Комплектация электроприводами
DN
Тип привода
Мощность, кВт
Масса, кг
Производитель привода
