+38 (0562) 35-66-24
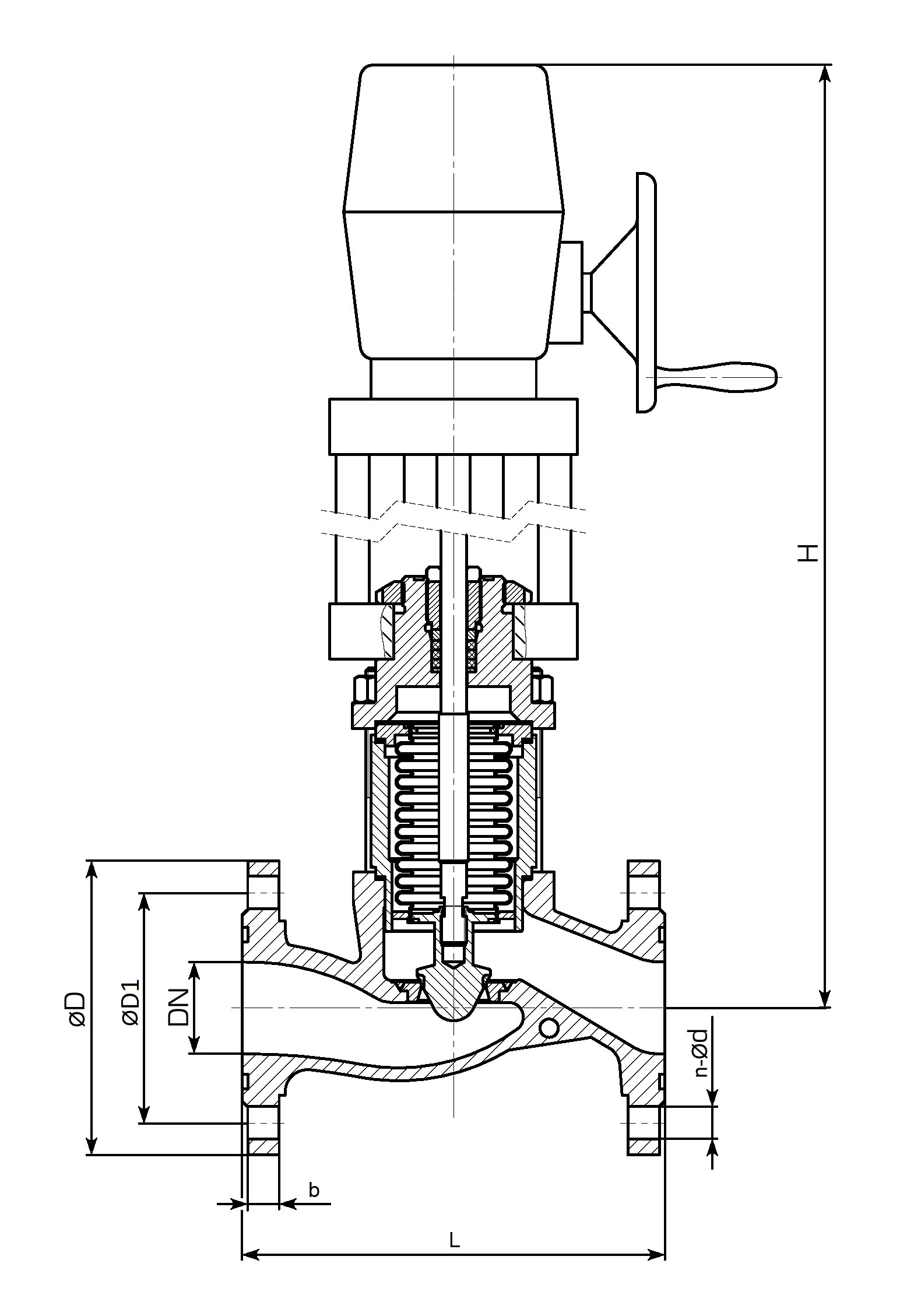
Клапаны запорно-регулирующие сильфонные с ЭИМ 14с985п, 14нж985п МЗ 26058
23
Клапаны регулирующие
https://www.promarmatura.info/en
Клапан запорно-регулирующий сильфонный с ЭИМ МЗ 26058 / 14с985п, 14с985нж, 14нж985п, 14нж985бк/ DN 32-200 PN 16
АО «Армапром»
ТУ У 29.1-00218325-015-2002
Аналог
14с985п, 14с985нж, 14нж985п, 14нж985бк
Материал корпуса
Сталь 25Л, 12Х18Н9ТЛ, 12Х18Н12МЗТЛ
Температурный диапазон
от -100 °C до 420 °C
Массогабаритные характеристики
DN
L, мм
D, мм
h, мм
H, мм
m, кг
DN, мм
32
L, мм
180
D, мм
135
h, мм
-
H, мм
512
m, г
29,2
DN, мм
40
L, мм
200
D, мм
145
h, мм
-
H, мм
564
m, г
31,1
DN, мм
50
L, мм
230
D, мм
160
h, мм
-
H, мм
596
m, г
35,3
DN, мм
100
L, мм
350
D, мм
215
h, мм
-
H, мм
782
m, г
77,4
DN, мм
200
L, мм
600
D, мм
335
h, мм
-
H, мм
966
m, г
212
Комплектация электроприводами
DN
Тип привода
Мощность, кВт
Масса, кг
Производитель привода
