ЗАДАТЬ ВОПРОС
+38 (0562) 35-66-24
e-mail: sales@promarmatura.ua

Клапан запорный сальниковый 15с54бк, 15нж54бк ПЗ 22038

20
Клапаны запорные
https://www.promarmatura.info
Клапан запорный сальниковый 15с54бк, 15с54нж, 15нж54бк, 15с54бк2 DN 6-25 PN160
АО "Славгородский АЗ"
ТУ У 14308859.002-98
Аналог 
15с54бк, 15нж54бк, 15с54бк2
Материал корпуса 
Сталь 30,сталь 20, сталь 08Х18Н10Т
Температурный диапазон 
от -40 °C до 450 °C
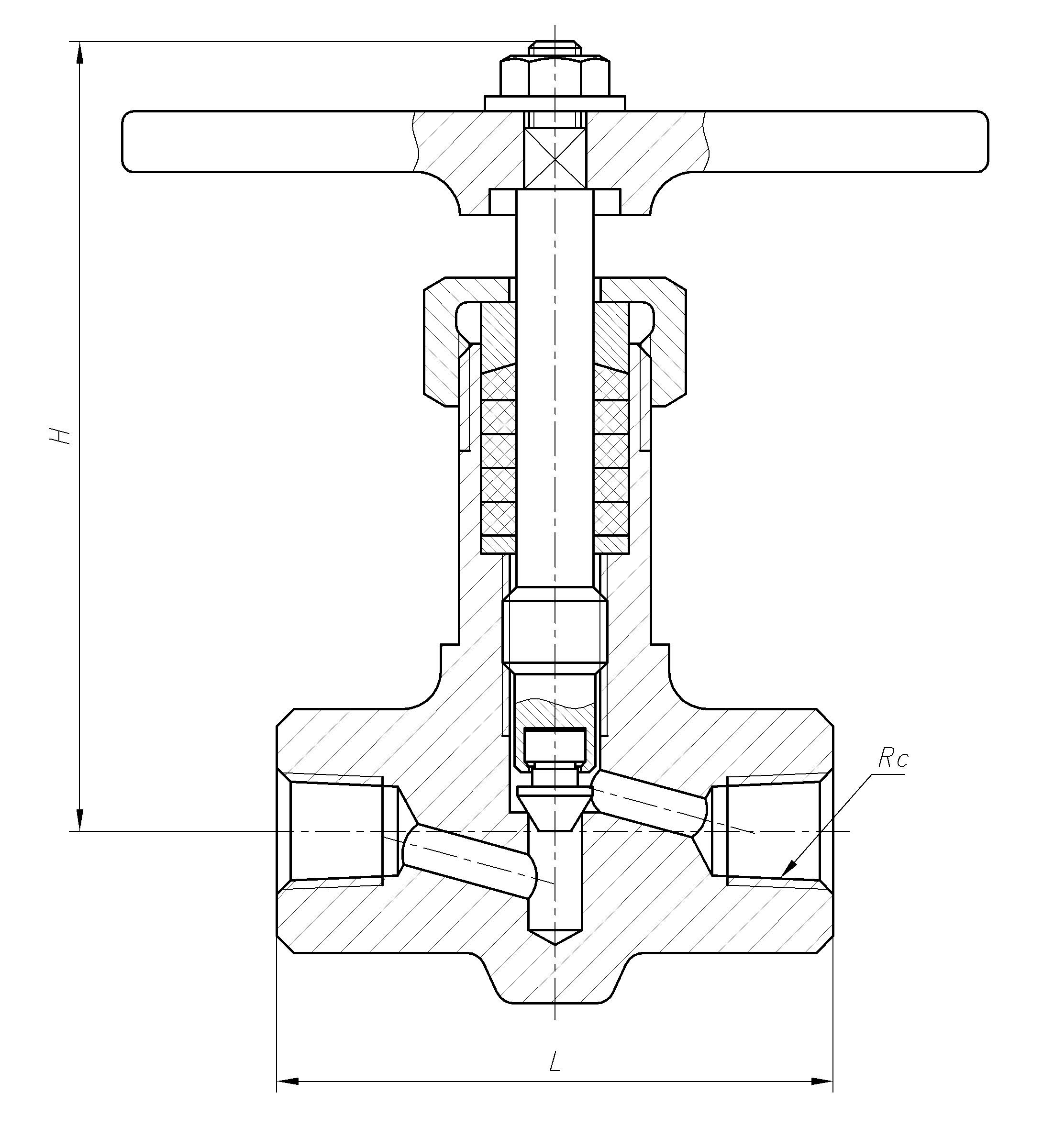
Массогабаритные характеристики
DN
L, мм
D, мм
h, мм
H, мм
m, кг
DN, мм 
6
L, мм 
64
D, мм 
-
h, мм 
-
H, мм 
95
m, г 
0,56
DN, мм 
15
L, мм 
68
D, мм 
-
h, мм 
-
H, мм 
95
m, г 
0,6
DN, мм 
20
L, мм 
85
D, мм 
-
h, мм 
-
H, мм 
110
m, г 
1,4
DN, мм 
25
L, мм 
100
D, мм 
-
h, мм 
-
H, мм 
110
m, г 
1,54
Комплектация электроприводами
DN
Тип привода
Мощность, кВт
Масса, кг
Производитель привода

Вертикальные вкладки

Технические характеристики

Присоединение к трубопроводу

 — муфтовое/муфтовое резьба внутренняя коническая

— муфтовое/штруцерное: вход резьба внутренняя цилиндрическая / выход наружная метрическая

Герметичность в затворе - ГОСТ 9544-75; ГОСТ 9544-2015
Направление подачи среды — под золотник
Установочное положение – любое

Тип управления – ручное

Применяется в качестве запорного устройства на трубопроводах и оборудовании предприятий различных отраслей промышленности; на дифференциальных манометрах (муфта/штуцер)

Рабочая среда – жидкая и газообразная, нейтральная к материалам деталей контактирующих со средой
Температура рабочей среды* — от минус 40 до плюс 450oС

Версия для печати Отправить по email